Опис
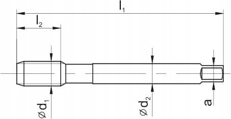
G 1″ мітчик DIN-5156B HSSE 800 – надійний обробний інструмент. Машинний мітчик DIN-5156B G1 HSSE 800 – це професійний інструмент, який гарантує високу точність і ефективність при обробці різних матеріалів. Завдяки своїй конструкції та використовуваним матеріалам це чудовий вибір для тих, хто шукає надійні рішення в обробці металу. Високоякісна сталь HSSE з 5% кобальту. Інструмент виготовлений з HSSE Швидкорізальна сталь, що містить 5% кобальту, забезпечує відмінну стабільність леза та ефективність обробки, що робить мітчик G1 HSSE 800 ідеальним для обробки вуглецевої сталі та нержавіючої сталі.Геометрія та мікрогеометрія для ефективної роботи Мікрогеометрія мітчика була ретельно розроблена, щоб відповідати вимогам до обробки. Відсутність охолодження та тип наскрізного отвору забезпечують ефективну роботу в різних умовах, а загальна довжина хвостовика становить 20 мм. Кран DIN-5156B HSSE 800. Код виробника: D2-111101-3139 Матеріал: HSSE Кількість елементів в наборі: 1 Вага виробу: 0,400 кг Тип різьби: G Напрям різьби: RH Розмір різьби: G1 Тип отвору: наскрізний Стандартне виконання: DIN-5156 Гайка: B (4-5P) Загальна довжина: 160 мм Робоча довжина: 32 мм Діаметр хвостовика: 20,0 мм Діаметр отвору для різьби: 30,75 мм Застосування: P-сталь, K-чавун, N-алюміній, кольорові метали Замовляйте зараз, щоб насолоджуватися найкращою якістю обробки!Ідеально підходить для ваших потреб – доступний сьогодні в Apricot!






